引用元: https://nova.5ch.net/test/read.cgi/livegalileo/1719647945/
1: それでも動く名無し 警備員[Lv.9] 2024/06/29(土) 16:59:05.48 ID:xc9fgj9U0NIKU
2: 警備員[Lv.3][新芽] 2024/06/29(土) 16:59:41.29 ID:7sD1nplC0NIKU
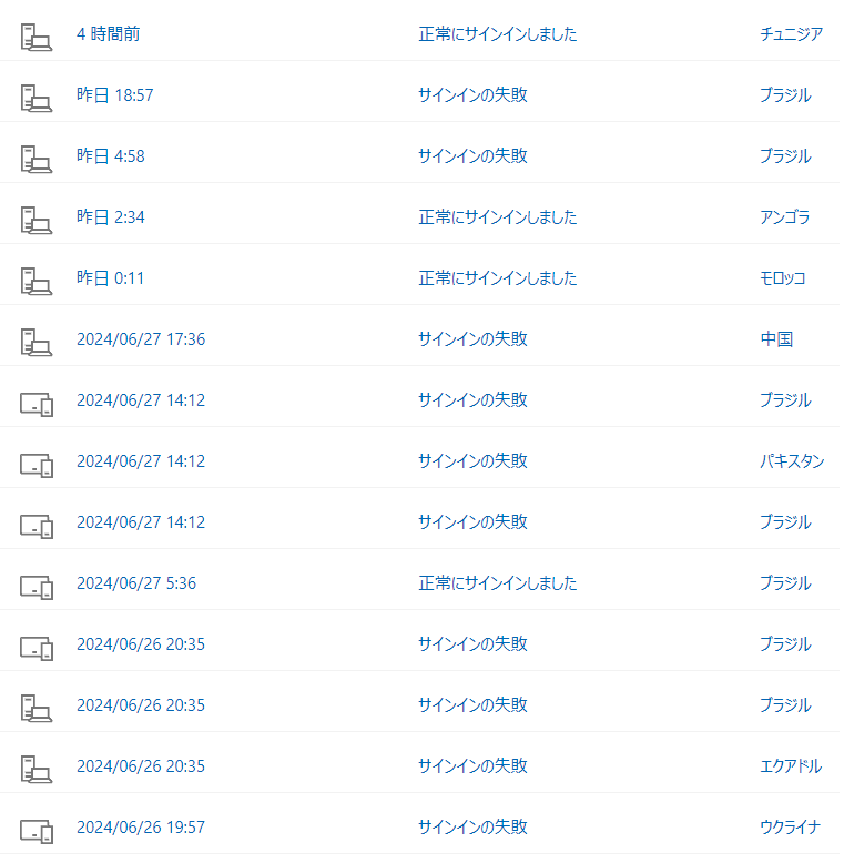
成功率高くて草
5: それでも動く名無し 警備員[Lv.3][新芽] 2024/06/29(土) 17:00:11.40 ID:Yzm4fzP00NIKU
ちょくちょく入れてて草
続きを読む
Source: なんJ PRIDE
【悲報】ワイ君、KADOKAWAのせいでMicrosoftのアカウントが誰かにログインされてしまうwwwwww
